<sup><del id="5xpV"></del></sup>

    <button id="5xpV"></button>
    <noframes id="5xpV">
  • <ul id="5xpV"><select id="5xpV"></select></ul>
    <abbr id="5xpV"></abbr>
    <b><address id="5xpV"></address></b>

    plug torque test device of iec60065 figure 11

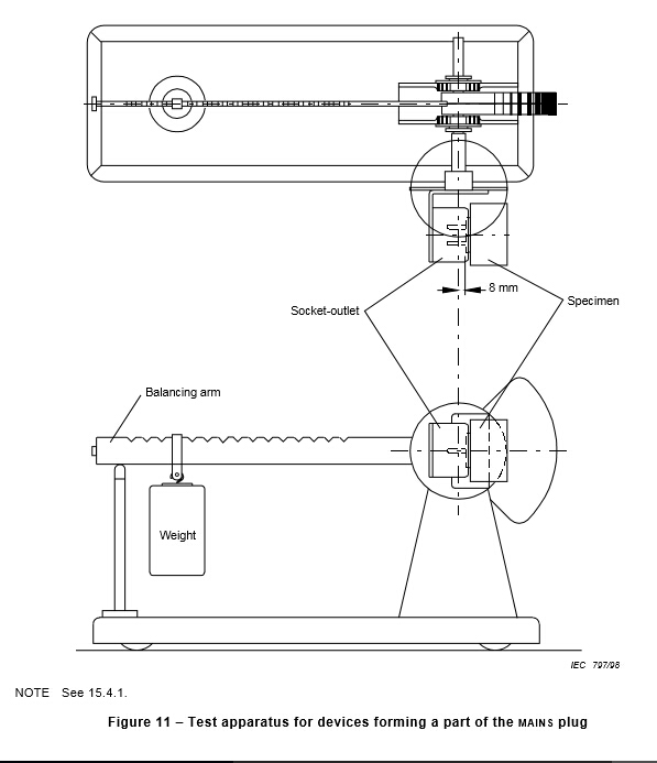
    Product Description:Name:plug torque test device of iec60065 figure 11Type:BND-CTLJStandards:BS1363.3,IEC60884,VDE0620,IEC60598,IEC60065 fig11ApplicationSocket-outlet Torque Balance Tester is used for test the torque strain exerted by the inputsocket-outlet and the devices with plug pins on output socketoutlets.The balancing arm of the test center lines of the contact tubes of the
    Description

    Product Description:

    Name:plug torque test device of iec60065 figure 11

    Type:BND-CTLJ

    Standards:BS1363.3,IEC60884,VDE0620,IEC60598,IEC60065 fig11


    Application

    Socket-outlet Torque Balance Tester is used for test the torque strain exerted by the input

    socket-outlet and the devices with plug pins on output socketoutlets.

    The balancing arm of the test center lines of the contact tubes of the

    socket-outlet at a distance of 8 mm behind the engagement face of the socket-outlet.

    With the engagement,the balancing arm is in equilibrium, the engagement face of the

    socket-outlet being in the vertical position.

    After the device has been engaged,the torque to be applied to the socket-outlet to maintain its engagement face in the vertical plane is determined by the position of a weight on the balance arm.

    Due to the different standards of different countries,the device are contained three socket clamps,If the needed clamps are more than 3 ,on request.

    In addition ,it includes a 5N weight and a 1N weight


    Type:

    weight

    2.5N*1, 1N*1

    Plug

    UL plug*1, European plug*1,all-purpose plug*1

    Conforms to standard

    IEC60884,VDE0620,IEC60598,IEC60065Fig11

    Arm of force

    0-200mm

    The distance from the contact surface and the Axis of the surface

    8mm


    2.jpg

    1.jpg

    3.jpg


    eKslSjavascript:void();

    <sup><del id="5xpV"></del></sup>

    <button id="5xpV"></button>
    <noframes id="5xpV">
  • <ul id="5xpV"><select id="5xpV"></select></ul>
    <abbr id="5xpV"></abbr>
    <b><address id="5xpV"></address></b>