<sup><del id="5xpV"></del></sup>

    <button id="5xpV"></button>
    <noframes id="5xpV">
  • <ul id="5xpV"><select id="5xpV"></select></ul>
    <abbr id="5xpV"></abbr>
    <b><address id="5xpV"></address></b>

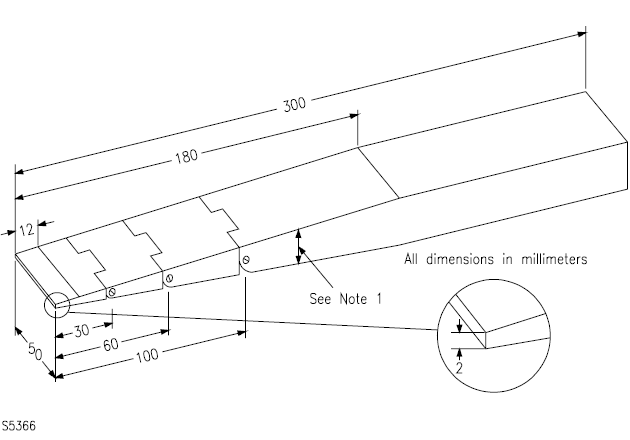
    S5366 The wedge probe BND-X102

    Product Description:Name:S5366 The wedge probeType:BND-X1021.Specification :Length : 300mmWidth : 50mmBendable Section : 30/30/40mmMaterial : Stainless steelReference : UL60950 Fig NAF.2 and NAF.3Distance from probe tip Probe thickness
    Description

    Product Description:

    Name:S5366 The wedge probe

    Type:BND-X102


    1.Specification :

    Length : 300mm

    Width : 50mm

    Bendable Section : 30/30/40mm

    Material : Stainless steel

    Reference : UL60950 Fig NAF.2 and NAF.3

    Distance from probe tip Probe thickness


    2,Appliance:

    This product is used for testing access to document shredders. The Jointed Accessibility Wedge Probe is a high precision probe made in exact accordance with UL and IEC standards such as UL60950 Figure NAF2 and NAF3 UL 60950 wedge probe for paper shredders .

    The wedge probe is made of solid aluminum to conserve weight yet maintain rigidity. Others maintain that the tip needs to be more rigid, because of the cutting blades. This underscores their lack of knowledge of the requirements as you do not perform the test with the unit energized! No damage can occur to the probe unless the shredder is energized - - in which case there is extreme danger in performing the test! The Shredder Accessibility Probe is intended for testing paper shredders in accordance with Annex NAF of the Standard for Information Technology Equipment, UL60950-1:2006


    3,Note :

    1 The thickness of the probe varies linearly, with slope changes at the following points along the probe:

    2 Tolerances on the probe measurement values are ±0.127 mm.

    Figure NAF.2 – Accessibility probe/wedge (overall view)


    Distance from probe tip

    Probe thickness

    0mm

    2mm

    12mm

    4mm

    180mm

    24mm


    20150127164942_78887.png

    mWrKTjavascript:void();

    <sup><del id="5xpV"></del></sup>

    <button id="5xpV"></button>
    <noframes id="5xpV">
  • <ul id="5xpV"><select id="5xpV"></select></ul>
    <abbr id="5xpV"></abbr>
    <b><address id="5xpV"></address></b>